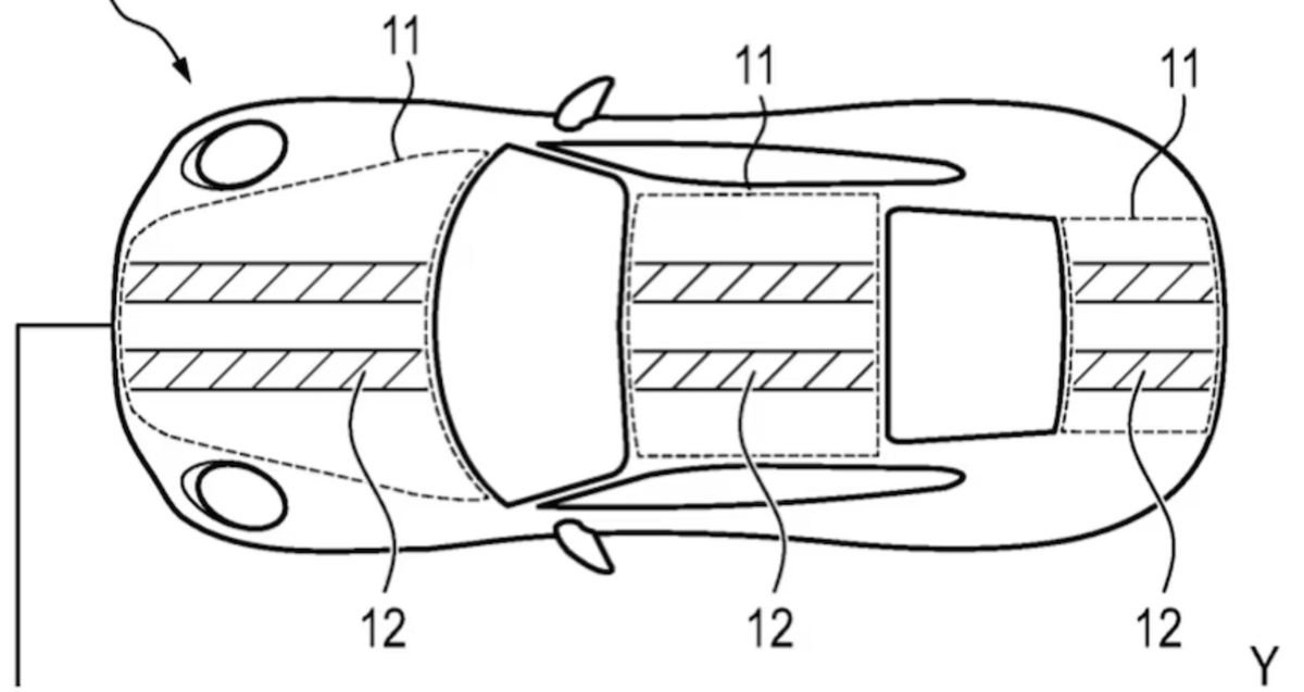
Sokaknak ismerős a gyerekjátékok világából a színváltós autó, ám életnagyságban még nem sikerült megvalósítani – pontosabban négy évvel ezelőtt a BMW az iX Flow tanulmánnyal már mutatott egy variációt a témára. Most a Porsche gondolta tovább az ötletet, a megvalósíthatóság szempontjait figyelembe véve azonban nem az egész karosszérián, hanem annak egy részén: a dekorsávokon. Az Auto Bild által bemutatott szabadalmi terveken a hosszanti gyorsítócsíkok fóliaként kerülnek fel az autó fényezésére, és „az elektronikus papír” vagy „paramágneses bevonat” a feszültség hatására tudná megváltoztatni a színét.

Így a menetdinamikai programokhoz kapcsolva hangulatot közvetítenének, például sport módban pirosra, ökóban pedig zöldre váltanának, emellett gombnyomásra egyedi színt is választhatna a sofőr vagy akár a karosszéria árnyalatához igazítva láthatatlanná is tehetné a sofőr a dekorcsíkokat. Szerepelt egy másik felhasználási lehetőség is a szabadalmi rajzokon: a hátsó kerekek mögött elhelyezett dekorfólia az elektromos autóknál az akkumulátor töltöttségét is megjeleníthetné. Reális esélye van annak, hogy sorozatgyártásban is megjelenik a fejlesztés, arra azonban mérget vehetünk, hogy az egyedi extrák listáján tekintélyes felárat kérnének érte.




















Szóljon hozzá!
Jelenleg csak a hozzászólások egy kis részét látja. Hozzászóláshoz és a további kommentek megtekintéséhez lépjen be, vagy regisztráljon!